-
汽化器 编辑
汽化器亦称“化油器”。发动机中用以使燃料与空气形成可燃混合物的部件。 简单汽化器主要由浮子室、量孔、喷管、喉管、节气门(俗称油门)等组成。喉管以上部分称为进气室,喉管以下部分称为混合室。
空气经空气滤清器进入喉管上部,在喉管处形成高速气流,产生负压区;浮子室中汽油在浮子室和喉管压差作用下,经量孔从喷管喷出,被高速气流雾化,形成混合气。可燃混合气形成过程开始于汽化器中,在进气和压缩过程中油滴继续蒸发不断与空气混合,直到压缩冲程终止前、点火开始时才结束;但汽化器喉管处汽油的雾化程度,对形成均匀良好的可燃混合气起关键性作用。随发动机工况的变化,要求汽化器相应改变可燃混合气的浓度和数量。
汽化器上装有怠速、起动、加浓、加速等补偿装置。汽化器的类型按空气流动方式分为上吸式、下吸式和平吸式3种;按喉管数目分为单喉管式、双重喉管式和三重喉管式3种;按混合室数目分为单腔式和双腔式。
中文名:汽化器
外文名:Carburetor
又称:化油器
性质:航空部件
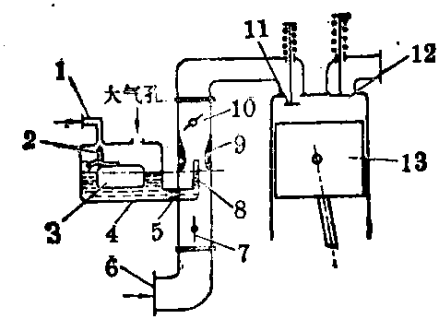
简单汽化器结构
1.汽油入口2.针阀3.浮子4.浮子室5.量孔6.空气入口7.阻风阀8.喷油管9.喉管10.节流阀11.进气阀12. 气阀 3.活塞
图1
图1为一种发动机用的汽化器结构简图。燃油室中的燃油量由浮子控制,根据流体静力学原理,浮子的重量一定,浸入燃油的深度也保持一定。当油面达到喷油口高度时,浮子上方的针阀恰好将进油口关闭,进油口停止进油。当燃油面下降到喷油口下方时,浮子也随油面向下运动,进油口又被打开而继续进油,直到油面重新达到喷油口高度为止。燃油与气体混合气的产生装置是一支两端粗、中间细的文丘里管,在最细处的喉管部放置一支与燃油室相通的喷管。由于燃油液面与喷口在同一高度,喷口处的燃油压强即为大气压。当高速气流由进气口流入时,经过喉管气流流速更加变大,根据文丘里效应可知,气流流速加大,压强会随之降低,喉管处的气压远小于大气压,在内外压强差的作用下,燃油管内的燃油迅速喷出,与空气混合形成雾状混合气。当喷口处压强变小,吸出油量会随之加多,所吸出的油量随空气的流量大小改变,故汽化器供给发动机的油气比能保持恒定。调节与控制油气比的部位是汽化器的蝶形阀。蝶形阀门的开启大小,可以控制气流量以控制油气比。在一般情况下,油与气的质量比大约为1∶13,体积比约为1∶9000。油门可以控制注入发动机的混合气总量,从而控制发动机的输出功率。油门装在文丘里管中,外部与油门踏板连接。现代汽化器还添加一些辅助设备,以减少烃类化合物放出,并可利用计算机根据发动机的温度、荷载和速度来自动控制油气比与混合气供应量。
压力式:一种在燃油泵到排放喷嘴之间形成封闭输送系统的液压机械装置。它根据流过油门的空气流量来测量流过固定喷射装置的燃油,并且在正的压力下消耗燃油。压力式汽化器明显不同于浮动式汽化器,因为它没有把放油的浮动腔或者吸入式抽油器与文氏管中的排放喷嘴结合使用。
浮动式:它基本上包括一个主空气通道,发动机经过这个通道吸入空气,它不仅是一种与空气流量有关的耗油量控制装置,还是一种可调节输送到发动机气缸的油气混合物的多少的设备。
发动机贫油或富油故障
1. 发动机慢车贫油或富油。
当发动机慢车工作时,如果出现贫油状况,可以通过调节汽化器慢车混合比调节针顺时针旋转来进行调节;如果出现富油状况,可以通过调节汽化器慢车混合比调节针逆时针旋转来进行调节。注意:如果对其进行调节过度(顺时针调节时,弹簧压得过紧或逆时针调解时,弹簧无压力),仍然对其贫富油无法调节,这时应该将汽化器送维修单位检查汽化器内部的慢车油管,看其是否有堵塞或损坏。
2. 发动机中转速贫油或富油。
当发动机中转速工作时,如果出现贫油状况,可以通过调节汽化器顺时针旋转来进行调节;如果出现富油状况,可以通过调节汽化器经济装置逆时针旋转来进行调节。注意:如果出现过度调节,仍然对其贫富油无法控制,这时应该将汽化器送维修单位检查汽化器内部的浮子与密封垫之间的间隙,来对其进行调整。
3. 发动机出现过富油,并且排气管有大量黑烟冒出。
首先观察汽化器冲压管是否有燃油溢出,如果有燃油溢出,说明汽化器进油活门有外来物进人,活门无法关严,燃油一直流进浮子室内,从冲压管大量溢出,造成过富油情况。在气缸内的燃气混合物燃烧不充分,有大量的黑烟从排气管排出。这时,我们必须把浮子室盖拆下,吹洗进油活门和进油滤并查明进入外来物的原因,做好有效控制。
汽化器加速泵工作性能不好或不工作
一般是通过观察加速泵喷嘴喷出燃油的大小和强弱,来判断该汽化器的加速泵性能的好坏。有些汽化器使用一段时间后,加速泵工作性能不好(喷出的燃油少且弱)甚至不工作,通常要检查以下几个方面:
1. 检查加速泵出油单向活门。拆下出油单向活门,检查其有无卡阻或堵塞。如果有,建议更换新件。外场在维护时,没有新件更换可以进行清洗,用干燥的压缩空气对其进行吹洗,用手感受活门是否通畅,然后按手册规定装上。
2. 检查加速泵连杆和活塞的连接状况。打开浮子室盖,观察加速泵连杆与活塞的连接是否脱开,如果脱开,说明加速泵的操作已经失效,加速泵根本就不工作。我们应该找到脱开的环形卡箍并报废,检查活塞杆的磨损状况(建议更换新件)并取下活塞,按照“3”的内容检査加速泵进油单向活门。用新的卡箍重新连接加速泵连杆和活塞(安装卡箍有方向要求:卡箍的平面朝上,凸面朝下安装)。
3. 检查加速泵进油单向活门。如“2”说明取下活塞后检查出油单向活门是否有卡阻或堵塞,主要是观察其球形活门在里是否运动灵活。如果有卡阻建议更换新件,外场如果没有条件,可用钩针轻微拨动一下球形活门(注意:不能用力拨动,否则会对活门造成划痕和损伤)。
如果综上所述,仍不能解决问题,建议送维修厂家进行翻修,对各个油路进行吹洗,如有必要,还要将加速栗喷嘴拆下看其是否有堵塞。由于航空浮子式汽化器使用的年限较长,加上其本身设计有一定的缺陷,我们在日常的维护和保养过程中,特别要注意防外来物的污染,一旦进入外来物会造成系统工作不正常,甚至造成发动机停车的危险。在每次检查油滤和对汽化器进行放油时,都应仔细观察是否有杂质,如有应及时上报,并送维修厂家进行检查,查明原因。
1、本站所有文本、信息、视频文件等,仅代表本站观点或作者本人观点,请网友谨慎参考使用。
2、本站信息均为作者提供和网友推荐收集整理而来,仅供学习和研究使用。
3、对任何由于使用本站内容而引起的诉讼、纠纷,本站不承担任何责任。
4、如有侵犯你版权的,请来信(邮箱:baike52199@gmail.com)指出,核实后,本站将立即删除。
下一篇 carburettor
上一篇 洗车工

















