-
密实度 编辑
密实度(Dense Degree) 是指材料的固体物质部分的体积占总体积的比例,即密实度=(ρ0 /ρ)×100%。
中文名:密实度
外文名:Dense Degree
意义:固体物质部分占总体积的比例
根据:孔隙的特征
学科:物理
按孔隙的特征,材料的孔隙可分为开口孔隙和闭口孔隙两种,二者孔隙率之和等于材料的总孔隙率。按孔隙的尺寸大小,又可分为微孔、细孔及大孔三种。不同的孔隙对材料的性能影响各不相同。一般而言,孔隙率较小,且连通孔较少的材料,其吸水性较小,强度较高,抗冻性和抗渗性较好。工程中对需要保温隔热的建筑物或部位,要求其所用材料的孔隙率要较大。相反,对要求高强或不透水的建筑物或部位,则其所用的材料孔隙率应很小。
密实度是由制瓦设备是否先进及生产工艺水平决定。高密度瓦必须由半干水泥料经高压(1250牛顿力左右)冲压成型。水泥的水灰比在0.4~0.5之间(一公斤水泥加水0.4~0.5公斤)用美国专利搅拌设备自动配好(其它简单方式搅拌不成),生产时在轧制仓内犹如轧钢一样,把水泥挤轧在高强铝合金模具上,经自动切断,这样就形成高密度瓦坯。由于内部空隙小,水很不容易渗透。小厂一般使用平行挤压设备制造,人工拌料或用一般简易搅拌机,水灰比只有加到0.6~0.7时才能把水泥浆拌成,再加上用的是铁皮模具,无法承受大的压力,只是一抹而蹴,因而密实度大大降低,内部空隙既大又多,所以抗渗性很差。在连阴天,雨水就会渗到瓦背面下滴,进而渗入屋面。(据资料介绍,当水泥的水灰比由0.4加到0.7时,抗渗性下降100倍!!)密实度低,不但抗渗性差而且强度也随之下降,好瓦抗折力可达300公斤以上,差瓦还不到100公斤。抗渗性差,冬季就不耐冻。尤其在北方,白天雪水渗入瓦中,夜间结冰膨胀,将瓦胀裂而逐渐剥落破坏,瓦的使用寿命也就不会长。它决定着瓦的强度,抗渗水性,抗冻性,以及使用寿命。
听声音:一手将瓦提起,一手用硬物敲击瓦片。如果声音清脆,说明密实度较好;如果声音发闷,说明密实度差。看断茬:将瓦打碎,如断面密实细腻,密实度好;如果断面粗糙酥松,则密实度差。
BR-ICCC智能压实度控制仪专为铁路、公路、机场、水利大坝等施工碾压过程的压实度、密实度监测和指导、控制施工碾压遍数而设计,实现施工碾压过程的实时监测,同时从根本上解决了漏压、欠压、过压等问题。为改良碾压工艺和压实质量(压实度、密实度)检测提供了完整的过程数据。用户在使用过程中,明显提高了工作效率,保证了填充料压实度的施工质量,获得了明显的经济效益与社会效益。
砌块成型机是一种用于松散物料成型与密实的机械设备,其生产原料主要为粉煤灰、炉渣以及水泥、石子等。由于其具有环保功能,因此得到了较为广泛的应用。它的核心部分是振动装置,其性能直接决定着机器本身的优劣和产品质量的好坏。因此,振动参数的选择对产品性能至关重要。所谓振动参数是指对振动密实成型效果有直接影响的技术参数,它包括振动频率、振幅、振动加速度和激振力等。以下重点介绍砌块成型机的成型原理、成型方式及砌块成型机的振动对砌块密实度的影响。
砌块振动的方向对砌块密实度的影响
图 1 垂直、 水平定向振动对砌块密实度的影响
砌块振动的方向有垂直定向振动、水平定向振动和环向振动三种。一般采用垂直定向振动和水平定向振动,垂直定向振动与水平定向振动具有不同的振动效果,它们对砌块密实度的影响见图1。
垂直定向振动的激振力与重力平行,在振动过程中振动力必须克服模箱的重量,因此动力消耗大,机器较笨重,噪声也大。采用该种定向振动需对拌合料表面进行加压,振幅值也较大(2mm~4mm),当模箱上下振动时,加压板随之作垂直定向振动,但加压板的运动与模箱运动有一个相位差,这样便产生了振动夯实的效果,生产的砌块耗灰少、不翻浆、底脚干净且表面纹理均匀。
水平定向振动的激振力与重力成90°且平行于地面,振动时拌合料沉降速度较快,对台座地坪的冲击力小,振动噪声小,模箱磨损少,所需的功率也较小。从图 1可以看出,水平振动在头2s~ 5s中振实混凝土的效果比垂直振动好,而在10s以后振实效果更为显著,但在较大的加压值作用下效果就不一定有垂直定向振动好。
频率 f 对砌块密实度的影响
图 2 外阻力较小时不同频率下的密实高度
图 3 外阻力很大时不同频率下的密实高度
图2中,外阻力较小时,低频激振振幅大,密实度值大,密实效果好。图3中,外阻力大时,即被振物料很 “硬” 时,低频激振振幅大,混合料表层受严重不规则冲击,反而变 “软”,密实高度反而下降,密实效果较差。
振幅 A对砌块密实度的影响
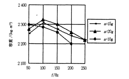
图 4 各指定加速度在各频率下振动 2s后的容重
振动加速度 a对砌块密实度的影响
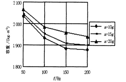
图 5 各指定加速度在各频率下振动 10s后的容重
由上述可知,成型机在振动成型过程中头2s~3s的捣实效果是关键。合适的振动频率与振动加速度是成型机良好性能的保证。因此合理地确定振动加速度是很必要的,振动加速度太小,振动延续时间加长,振动不密实;振动加速度太大,将会造成振动功率的浪费,并需加强振动系统的结构。
振动能量对砌块密实度的影响
振动质量一定的情况下,振动功率大,激振力就大,所以模振成型机振动成形时间短,砌块密实度高。由此可见振动密实效果好坏的关键是激振力的大小,因此加大台振的振动功率,提高激振力,可缩短振动成型时间,提高振动密实效果。混凝土振动密实成型还有一个参数叫振动延续时间,也就是说混凝土拌合物受振后需要一个互相填充密实的时间,因此过分加大激振力、提高振动加速度也不可能在瞬间使混凝土得以密实。模振成型机的振动加速度约为10g~19g,振动成型时间约为1s~3s;台振成型机的振动加速度约为5g~ 8g,振动成型时间约为3s~5s。对于振动成型时间仅有1s~2s的模振成型机,再提高振动功率,加大激振力,意义也不大。
1、本站所有文本、信息、视频文件等,仅代表本站观点或作者本人观点,请网友谨慎参考使用。
2、本站信息均为作者提供和网友推荐收集整理而来,仅供学习和研究使用。
3、对任何由于使用本站内容而引起的诉讼、纠纷,本站不承担任何责任。
4、如有侵犯你版权的,请来信(邮箱:baike52199@gmail.com)指出,核实后,本站将立即删除。

















